На сайті Управління США по патентах і торгових марках (USPTO) опублікована патентна заявка Apple на «чутливі до тиску навушники».
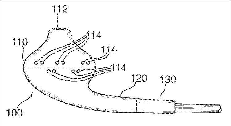
Мова йде про навушники-вкладиші нової конструкції, завдяки якій параметри відтворюваних аудіоматеріалів будуть автоматично оптимізуватися для досягнення максимальної якості в незалежності від розмірів і будови вушної раковини користувача. Річ у тім, що якість звучання може погіршуватися через нещільне прилягання вкладишів до вуха. Для зняття даних про анатомію вушної раковини Apple пропонує залучити масив датчиків тиску, інтегрованих в навушники.
Зняті сенсорами дані будуть аналізуватися, скажімо, супутнім додатком на мобільному пристрої. На основі отриманих результатів система зможе підлаштувати параметри звучання на різних частотах таким чином, щоб досягалася максимальна якість.
Заявка на патент була подана компанією Apple в травні нинішнього року, а на сайті USPTO документ був опублікований поточного тижня. Про те, коли запропонована технологія може бути реалізована в комерційних продуктах, нічого не повідомляється.
Дані будуть передаватися на пристрій за допомогою використання Bluetooth, а користуючись функціями шумо- і ехозаглушення, його можна буде застосовувати і для розмов. Аналітики прогнозують цій технології велике майбутнє. Використання ефекту кісткової провідності збільшить якість звучання, але не «відріже» користувача від зовнішнього світу повністю, що робить їх ще й безпечними, чого не скажеш про традиційні варіанти.
Купити оригінальні навушники Apple earPods в Україні можна від 300 гривень.
