📰 Новини
Apple запатентувала електромеханічні затвори для захисту iPhone від пилу і вологи
Схоже, наступні iPhone і iPad дійсно отримають захист від попадання вологи. На це натякає черговий патент, отриманий компанією Apple.
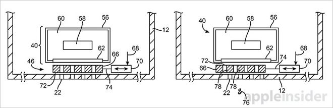
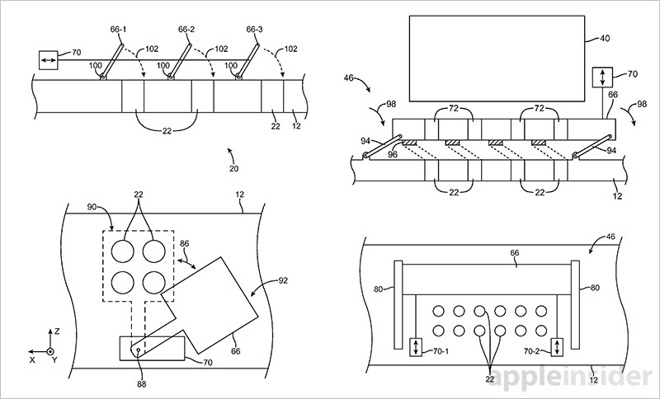
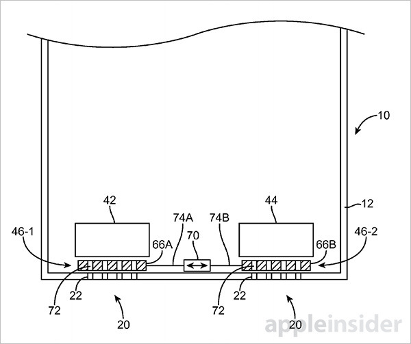
Як повідомляє AppleInsider, бюро з реєстрації патентів і торгових марок США схвалило патентну заявку, подану компанією Apple ще в 2014 році. У патенті під назвою “Електронні пристрої Apple в корпусі з затворами” описується система електрично керованих затворів, розташованих над такими компонентами, як динаміки та мікрофони. Вони будуть перешкоджати потраплянню всередину корпусу пилу і вологи, потенційно заощадивши сотні доларів на ремонт пошкоджених пристроїв. Подібний механізм також можна застосовувати для захисту порту Lightning, 3.5-міліметрового аудіороз’єму, слоту для SIM-карти й інших компонентів iPhone та iPad.
У патенті говориться, що механічні затвори закриватимуться при подачі струму у випадку, якщо датчики мобільного пристрою зафіксують присутність рідини і бруду. А в деяких випадках користувачі самостійно зможуть активувати затвори за допомогою голосових команд або натисненням спеціальної кнопки на екрані. Також буде передбачений зовнішній перемикач, який виступає в якості ручного управління.
Терміни реалізації запатентованої системи не уточнюються. Але навряд чи подібні затвори з’являться в пристроях Apple вже найближчим часом. Тим не менш, отримання цього патенту в черговий раз підтверджує інтерес Apple до систем захисту мобільних пристроїв від проникнення всередину корпусу води та пилу.
Правила коментування
Вітаємо Вас на сайті Pingvin Pro. Ми докладаємо всіх зусиль, аби переконатися, що коментарі наших статей вільні від тролінгу, спаму та образ. Саме тому, на нашому сайті включена премодерація коментарів. Будь ласка, ознайомтеся з кількома правилами коментування.
- Перш за все, коментування відбувається через сторонній сервіс Disqus. Модератори сайту не несуть відповідальність за дії сервісу.
- На сайті ввімкнена премодерація. Тому ваш коментар може з’явитися не одразу. Нам теж інколи треба спати.
- Будьте ввічливими – ми не заохочуємо на сайті грубість та образи. Пам’ятайте, що слова мають вплив на людей! Саме тому, модератори сайту залишають за собою право не публікувати той чи інший коментар.
- Будь-які образи, відкриті чи завуальовані, у бік команди сайту, конкретного автора чи інших коментаторів, одразу видаляються. Агресивний коментатор може бути забанений без попереджень і пояснень з боку адміністрації сайту.
- Якщо вас забанили – на це були причини. Ми не пояснюємо причин ані тут, ані через інші канали зв’язку з редакторами сайту.
- Коментарі, які містять посилання на сторонні сайти чи ресурси можуть бути видалені без попереджень. Ми не рекламний майданчик для інших ресурсів.
- Якщо Ви виявили коментар, який порушує правила нашого сайту, обов’язково позначте його як спам – модератори цінують Вашу підтримку.
Схожі новини
Реклама в Duolingo: загроза видалення з App Store
Додаток Duolingo опинився під загрозою видалення з App Store через показ реклами у Dynamic Island (Динамічний острів) і Live Activities (Заходи в прямому ефірі). MacRumors оприлюднило розслідування 2 січня 2026 року з описом конкретних випадків використання цих інтерфейсних зон для промо. Видання повідомляє, що Duolingo показував рекламу платних функцій у Dynamic Island у вигляді коротких […]
Як придбати iPhone з максимальною вигодою: гайд для користувачів
Смартфон – це базова річ, яку ми використовуємо щодня. Важливо, щоб гаджет був швидким, надійним та автономним. За цими параметрами точно виграє Айфон – «яблучний» пристрій, що пропонує безліч корисних функцій. Підписуйтесь на наш Telegram-канал Але ціна такої техніки може здаватися зависокою, тож розберімося, чи можливо заощадити на купівлі без втрати якості. Як не переплачувати […]



