📰 Новини
Apple готує конкурента гнучким китайським смартфонам
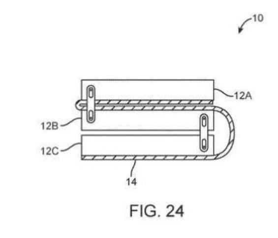
Вже давно відомо, що великі виробники смартфонів розробляють гнучкі смартфони. Samsung вже незабаром має представити свій варіант. Xiaomi та Huawei активно дошліфовують пристрої. LG, Lenovo та Motorola стараються не відставати від конкурентів. І лише Apple мовчала щодо цього. Але як виявляється, компанія оновила патентний документ і додала малюнок до одного з патентів гнучкого пристрою. Перша заявка на нього була подана ще у 2011 році, а оновлена у 2016 році.

Малюнки Apple демонструють гнучкий смартфон, який можна скласти за потреби. Техніка налічує шарнір та зовнішній корпус гнучкого екрану. Новий малюнок містить креслення оболонки і пристрій складений втроє. Але це лише патенти і невідомо коли ми побачимо гнучкий iPhone.
Правила коментування
Вітаємо Вас на сайті Pingvin Pro. Ми докладаємо всіх зусиль, аби переконатися, що коментарі наших статей вільні від тролінгу, спаму та образ. Саме тому, на нашому сайті включена премодерація коментарів. Будь ласка, ознайомтеся з кількома правилами коментування.
- Перш за все, коментування відбувається через сторонній сервіс Disqus. Модератори сайту не несуть відповідальність за дії сервісу.
- На сайті ввімкнена премодерація. Тому ваш коментар може з’явитися не одразу. Нам теж інколи треба спати.
- Будьте ввічливими – ми не заохочуємо на сайті грубість та образи. Пам’ятайте, що слова мають вплив на людей! Саме тому, модератори сайту залишають за собою право не публікувати той чи інший коментар.
- Будь-які образи, відкриті чи завуальовані, у бік команди сайту, конкретного автора чи інших коментаторів, одразу видаляються. Агресивний коментатор може бути забанений без попереджень і пояснень з боку адміністрації сайту.
- Якщо вас забанили – на це були причини. Ми не пояснюємо причин ані тут, ані через інші канали зв’язку з редакторами сайту.
- Коментарі, які містять посилання на сторонні сайти чи ресурси можуть бути видалені без попереджень. Ми не рекламний майданчик для інших ресурсів.
- Якщо Ви виявили коментар, який порушує правила нашого сайту, обов’язково позначте його як спам – модератори цінують Вашу підтримку.
Схожі новини
Реклама в Duolingo: загроза видалення з App Store
Додаток Duolingo опинився під загрозою видалення з App Store через показ реклами у Dynamic Island (Динамічний острів) і Live Activities (Заходи в прямому ефірі). MacRumors оприлюднило розслідування 2 січня 2026 року з описом конкретних випадків використання цих інтерфейсних зон для промо. Видання повідомляє, що Duolingo показував рекламу платних функцій у Dynamic Island у вигляді коротких […]
Як придбати iPhone з максимальною вигодою: гайд для користувачів
Смартфон – це базова річ, яку ми використовуємо щодня. Важливо, щоб гаджет був швидким, надійним та автономним. За цими параметрами точно виграє Айфон – «яблучний» пристрій, що пропонує безліч корисних функцій. Підписуйтесь на наш Telegram-канал Але ціна такої техніки може здаватися зависокою, тож розберімося, чи можливо заощадити на купівлі без втрати якості. Як не переплачувати […]


