📰 Новини
Apple намагається запатентувати кольорову 3D-друк
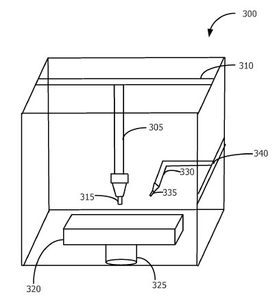
У базі даних американського патентного відомства знайшли заявку на патент, подану Apple ще в травні 2014 року. У ній описано «метод і пристрій для тривимірного друку забарвлених об’єктів».
За словами винахідників, тривимірні об’єкти можна друкувати і розфарбовувати одним і тим же пристроєм з використанням однієї і тієї ж цифрової тривимірної моделі. Модель також може бути доопрацьована, щоб включити в неї процес фарбування 3D-принтером. В одному з варіантів об’єкт може бути пофарбований після виготовлення, в іншому – безпосередньо в процесі виготовлення.
Цікаво, що одним із прикладів застосування винаходу названий друк іграшок в домашніх умовах. Поки невідомо, чи планує Apple використовувати описану в заявці технологію у власній продукції, тобто зайнятися випуском 3D-принтерів.
Правила коментування
Вітаємо Вас на сайті Pingvin Pro. Ми докладаємо всіх зусиль, аби переконатися, що коментарі наших статей вільні від тролінгу, спаму та образ. Саме тому, на нашому сайті включена премодерація коментарів. Будь ласка, ознайомтеся з кількома правилами коментування.
- Перш за все, коментування відбувається через сторонній сервіс Disqus. Модератори сайту не несуть відповідальність за дії сервісу.
- На сайті ввімкнена премодерація. Тому ваш коментар може з’явитися не одразу. Нам теж інколи треба спати.
- Будьте ввічливими – ми не заохочуємо на сайті грубість та образи. Пам’ятайте, що слова мають вплив на людей! Саме тому, модератори сайту залишають за собою право не публікувати той чи інший коментар.
- Будь-які образи, відкриті чи завуальовані, у бік команди сайту, конкретного автора чи інших коментаторів, одразу видаляються. Агресивний коментатор може бути забанений без попереджень і пояснень з боку адміністрації сайту.
- Якщо вас забанили – на це були причини. Ми не пояснюємо причин ані тут, ані через інші канали зв’язку з редакторами сайту.
- Коментарі, які містять посилання на сторонні сайти чи ресурси можуть бути видалені без попереджень. Ми не рекламний майданчик для інших ресурсів.
- Якщо Ви виявили коментар, який порушує правила нашого сайту, обов’язково позначте його як спам – модератори цінують Вашу підтримку.
Схожі новини
Apple Watch 11: кому варто оновитися, а кому вистачить попереднього покоління
З кожним новим поколінням Apple Watch компанія робить ставку на покращення функціональності та розширення можливостей для здоровʼя, спорту та повсякденного використання. З виходом Apple Watch 11 зміни стали помітними, і варто розібратися, хто дійсно виграє від апгрейду, а кому можна залишатися на попередніх моделях. Підписуйтесь на наш Telegram-канал Основні нововведення Apple Watch 11 Apple Watch […]
Чи варто чекати підекранний Face ID у iPhone 17 Pro?
Apple тривалий час працює над інтеграцією системи Face ID безпосередньо в дисплей iPhone, що може значно зменшити або повністю усунути динамічний острів. Цю технологію очікують мільйони користувачів по всьому світу, адже вона здатна радикально змінити дизайн смартфона та забезпечити максимальне використання площі екрана. Підписуйтесь на наш Telegram-канал Нові дані від інсайдерів змушують переглянути очікування щодо […]
