📰 Новини
Apple запатентувала складаний смартфон з гнучким екраном
Останній патент Apple, зареєстрований в Бюро по патентах і торгових марках США, говорить про те, що купертінівці вже багато років вивчають можливість розробки складаного iPhone.
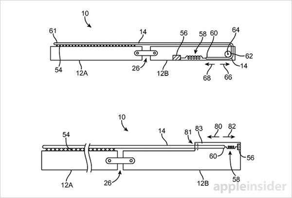
Зареєстрований Apple патент описує складаний смартфон, при створенні якого передбачається використання ряду гнучких компонентів, включаючи OLED-екран і металеву структуру. Причому, за задумом Apple, в якості останньої може застосовуватися нитинол – сплав нікелю й титану, відомий своєю еластичністю і ефектом пам’яті форми. А серед альтернативних варіантів в патенті Apple фігурують гнучкі полімери.
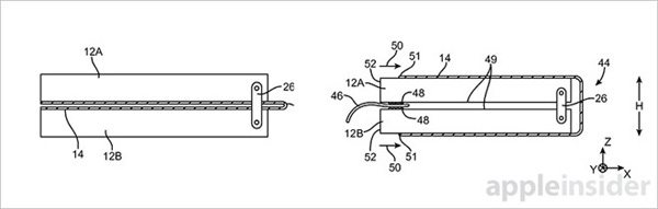
У деяких прикладах конструкція смартфона Apple включає в себе шарнір, який об’єднує верхню і нижню частини iPhone. До складу першої можуть входити камери, контролери дисплея, модулі акустичної системи і сенсор освітленості, а нижня частина девайса є вмістилищем мікрофона, CPU, GPU і вібромотора і інших компонентів.
Обидві частини смартфона з’єднуються за допомогою спеціального шарніра і об’єднані гнучкими друкованими платами. Причому в одному з прикладів екран смартфона складається всередину, нагадуючи звичайні розкладачки, а в іншому – назовні, що дозволяє використовувати ґаджет навіть в складеному стані. І в останньому випадку конструкція смартфона може включати в себе спеціальні затискач для його кріплення на одязі.
Є в асортименті Apple і більш складні конструкції з двома шарнірами і трьома складними частинами. Хоча, звичайно, поки це всього лише патент. Причому, судячи з різноманітностей конструкцій, інженери Apple просто “накидують” різні варіанти його реалізації. Але те, що Apple всерйоз зацікавилася складними смартфонами, не викликає ніяких сумнівів.
Правила коментування
Вітаємо Вас на сайті Pingvin Pro. Ми докладаємо всіх зусиль, аби переконатися, що коментарі наших статей вільні від тролінгу, спаму та образ. Саме тому, на нашому сайті включена премодерація коментарів. Будь ласка, ознайомтеся з кількома правилами коментування.
- Перш за все, коментування відбувається через сторонній сервіс Disqus. Модератори сайту не несуть відповідальність за дії сервісу.
- На сайті ввімкнена премодерація. Тому ваш коментар може з’явитися не одразу. Нам теж інколи треба спати.
- Будьте ввічливими – ми не заохочуємо на сайті грубість та образи. Пам’ятайте, що слова мають вплив на людей! Саме тому, модератори сайту залишають за собою право не публікувати той чи інший коментар.
- Будь-які образи, відкриті чи завуальовані, у бік команди сайту, конкретного автора чи інших коментаторів, одразу видаляються. Агресивний коментатор може бути забанений без попереджень і пояснень з боку адміністрації сайту.
- Якщо вас забанили – на це були причини. Ми не пояснюємо причин ані тут, ані через інші канали зв’язку з редакторами сайту.
- Коментарі, які містять посилання на сторонні сайти чи ресурси можуть бути видалені без попереджень. Ми не рекламний майданчик для інших ресурсів.
- Якщо Ви виявили коментар, який порушує правила нашого сайту, обов’язково позначте його як спам – модератори цінують Вашу підтримку.
Схожі новини
Реклама в Duolingo: загроза видалення з App Store
Додаток Duolingo опинився під загрозою видалення з App Store через показ реклами у Dynamic Island (Динамічний острів) і Live Activities (Заходи в прямому ефірі). MacRumors оприлюднило розслідування 2 січня 2026 року з описом конкретних випадків використання цих інтерфейсних зон для промо. Видання повідомляє, що Duolingo показував рекламу платних функцій у Dynamic Island у вигляді коротких […]
Apple Watch 11: кому варто оновитися, а кому вистачить попереднього покоління
З кожним новим поколінням Apple Watch компанія робить ставку на покращення функціональності та розширення можливостей для здоровʼя, спорту та повсякденного використання. З виходом Apple Watch 11 зміни стали помітними, і варто розібратися, хто дійсно виграє від апгрейду, а кому можна залишатися на попередніх моделях. Підписуйтесь на наш Telegram-канал Основні нововведення Apple Watch 11 Apple Watch […]

