📰 Новини
Новини дня зі світу ґаджетів: Lumia 850, Tesla Leather Wallet та Myleene Klass
Нещодавно аналітики інституту Nomura Research Institute (NRI) зпрогнозували, що до 2035 року роботи освоять половину спеціальностей в Японії. А поки до цього ще 20 років, можна побачити, як у Франції вже прижилися роботи Pepper. Це пілотна програма, в рамках якої три таких робота будуть працювати на трьох різних залізничних станціях Франції. Вони виконуватимуть роль информаційних баз, надаючи прибулим на вокзали дані про розклад поїздів та іншу туристичну інформацію. Дізнатися більше про пригоди роботів Pepper у Франції…
Після масштабної перебудови Google в цьому році був утворений холдинг Alphabet, що володіє декількома компаніями, що раніше належали Google, і самою Google в тому числі. Одним з підприємств Alphabet є Google Life Sciences (GLS), який керуватиме провідними розробками в галузі медицини. Як пише сайт EE Times, GLS запатентувала хірургічний прилад на основі технології лазерної абляції. Згідно з його опису, воно складається безпосередньо з лазера, тепловізора і пристрою керування. Тепловізор використовується для наведення лазера на “мету”, причому система може фіксуватися навіть на рухомій точці і на декількох точках одночасно. У сучасній медицині лазери використовуються для виконання делікатних операцій на очах або в шкірній хірургії, але останні досягнення науки і техніки можуть істотно розширити область їх застосування.
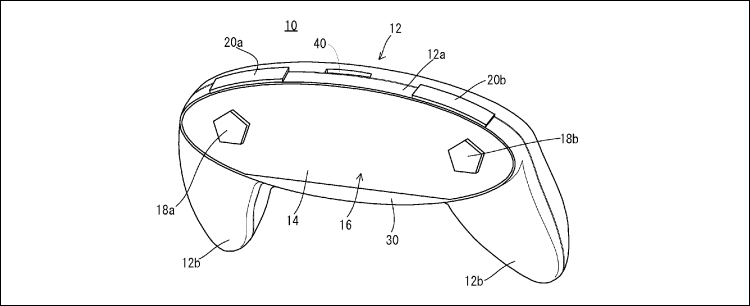
Управління США по патентах і торгових марках опублікувало патентну заявку Nintendo на «Ігровий пристрій і пристрій обробки інформації» (Game apparatus and information processing apparatus). Документ проливає світло на те, як можуть виглядати нові ігрові маніпулятори Nintendo. Зокрема, на ілюстраціях, що супроводжуюють заявку, зображений контролер овальної форми з гібридним керуванням. За задумом Nintendo, всю (або практично всю) фронтальну частину маніпулятора буде займати сенсорний дисплей, що виконує функції великого тачпада. Крім того, на торцевих частинах корпусу пристрою пропонується розташувати кнопки. Дізнатися більше про новий ігровий контролер Nintendo…

Японська компанія Secom на цьому тижні представила публіці безпілотний апарат, який може стати альтернативою статичним камерам спостереження. Квадрокоптер обладнаний камерою, світлодіодним ліхтарем і зможе “патрулювати” територію на висоті від 3 до 10 метрів, і при цьому будуть недосяжними для потенційних зловмисників. У разі виявлення підозрілої активності, безпілотник сфотографує транспортний засіб і його номерний знак, а також особи людей, і відправить ці дані в центр спостереження. Щоправда, переслідувати зловмисників квадрокоптер навряд чи здатний – його максимальна швидкість не перевищує десяти кілометрів на годину. Дізнатися більше про дрона охоронця…
- Tesla Leather Case
- Tesla Leather Wallet
Минуло всього кілька днів з моменту анонса компанією Apple спірного, судячи з реакції читачів, чохла Smart Battery Case, як свої чохли представила компанія, від якої цього навряд чи хтось очікував. Мова йде про Tesla Motors. Саме тієї компанії, чиї електромобілі є одними з найпопулярніших у світі і вже точно най-най-най технологічнішими. Незважаючи на те, що Tesla відома ще і виробництвом, а також продажем, акумуляторів, оговорені чохли являють собою просто чохли. Tesla пропонує модель Leather Case і Leather Wallet Case для кожного з нових смартфонів Apple. Другий відрізняється лише відсіками для зберігання карт або грошей. Найцікавіше, що чохли виготовляються з тієї самої шкіри, яка використовується для обшивки автомобілів компанії. Вартість складає $ 45 і $ 50, залежно від моделі.
- Microsoft Lumia 850
- Microsoft Lumia 850
Чутки про те, що компанія Microsoft готує до випуску смартфон середнього рівня Lumia 850 ходять вже досить давно. Зараз, завдяки відомому блогеру і інформатору Евану Бласса (Evan Blass), відомому також як Evleaks, і якомусь джерелу з Китаю, у нас є можливість оцінити новинку у всій красі і з усіх боків. Опубліковані рендерне зображення підтвердили, що фронтальна камера смартфона має спалах, наявність якого передбачалося раніше. Новинка мало схожа на свого попередника, Lumia 830, і своїм зовнішнім виглядом більше нагадує флагманські смартфони Lumia 950 і Lumia 950 XL. Дізнатися більше про характеристики новинки Microsoft…

Створювати хори з мобільних телефонів почали ще в ті часи, коли апарати підтримували тільки поліфонічні MIDI-рінгтони. В Samsung вирішили розвинути цю ідею і до майбутніх новорічних свят зібрали піаніно з планшетів. В якості «будівельного матеріалу» для незвичайного музичного інструменту виступили понад сто одиниць Samsung Galaxy Tab S2 з діагоналлю екрана 9,7 дюйма. Приблизна вартість «планшетного» піаніно – $ 40 000, і встановлено воно було в святковій упаковці під великою різдвяної ялинкою в лондонському торговому центрі Spitalfields Market. Розпакувати новорічний сюрприз від Samsung і зіграти на ньому перший ноти довірили британській піаністці, співачці та акторці Майлін Клас (Myleene Klass). Дізнатися більше про піанино з планшетів…
Саме таким був цей день. Слідкуйте і надалі за новинами на Vinsee.
Правила коментування
Вітаємо Вас на сайті Pingvin Pro. Ми докладаємо всіх зусиль, аби переконатися, що коментарі наших статей вільні від тролінгу, спаму та образ. Саме тому, на нашому сайті включена премодерація коментарів. Будь ласка, ознайомтеся з кількома правилами коментування.
- Перш за все, коментування відбувається через сторонній сервіс Disqus. Модератори сайту не несуть відповідальність за дії сервісу.
- На сайті ввімкнена премодерація. Тому ваш коментар може з’явитися не одразу. Нам теж інколи треба спати.
- Будьте ввічливими – ми не заохочуємо на сайті грубість та образи. Пам’ятайте, що слова мають вплив на людей! Саме тому, модератори сайту залишають за собою право не публікувати той чи інший коментар.
- Будь-які образи, відкриті чи завуальовані, у бік команди сайту, конкретного автора чи інших коментаторів, одразу видаляються. Агресивний коментатор може бути забанений без попереджень і пояснень з боку адміністрації сайту.
- Якщо вас забанили – на це були причини. Ми не пояснюємо причин ані тут, ані через інші канали зв’язку з редакторами сайту.
- Коментарі, які містять посилання на сторонні сайти чи ресурси можуть бути видалені без попереджень. Ми не рекламний майданчик для інших ресурсів.
- Якщо Ви виявили коментар, який порушує правила нашого сайту, обов’язково позначте його як спам – модератори цінують Вашу підтримку.
Схожі новини
PS6 та Xbox відкладаються через подорожчання ОЗП – що відомо
PS6 та Xbox відкладаються через подорожчання ОЗП. Відомий інсайдер Том Гендерсон заявляє, що різке подорожчання оперативної памʼяті змушує виробників консолей обговорювати можливе відтермінування виходу консолей нового покоління. Матеріал, опублікований на Insider Gaming, 29 грудня 2025 року, підкріплює цю тезу, а сам автор також поширив короткий допис у X. Підписуйтесь на наш Telegram-канал Що саме сталося? За […]
Налаштування тяги та потужності в под-системі Nexlim
Pod-системи з регулюванням дають більше контролю над процесом вейпінгу, але водночас вимагають розуміння базових принципів. Модель Nexlim орієнтована на користувачів, які хочуть керувати тягою та потужністю без складних меню й ризику зіпсувати випарник. А правильне налаштування напряму впливає на смак, температуру пари та реальний строк служби картриджа. Підписуйтесь на наш Telegram-канал На що звертати увагу […]







