📰 Новини
PlayStation 5 може отримати особливість Xbox One
Життєвий цикл приставки PlayStation 4 добігає кінця. Вже вийшла PS4 Pro, отже не за горами реліз п’ятої версії. Щоб забезпечити успіх новому поколінню, компанія Sony повинна реалізувати зворотну сумісність зі старими іграми. Саме з цієї причини, японці придумали цілу технологію «Remastering by emulation».
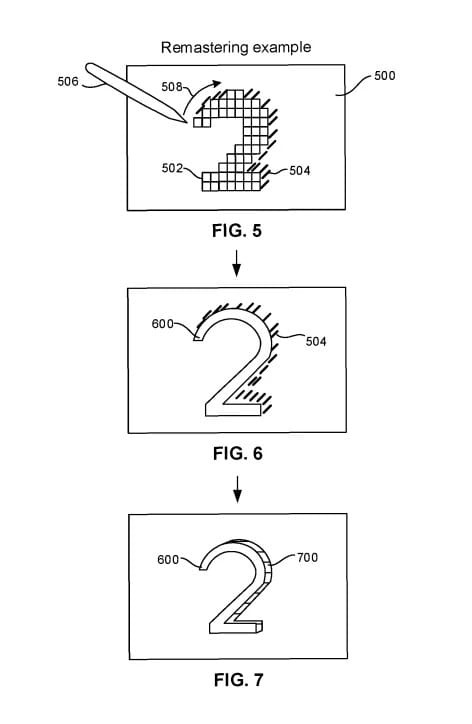
У мережі був опублікований патент компанії Sony, в якому описується алгоритм запуску ігор від старих PlayStation на наступному поколінні приставки. У документах патенту досить складно розібрати, про що саме там йдеться, але на прикладі текстур можна зрозуміти, що у Sony буде якась база даних нових текстур й інших асет для старих ігор. При запуску гри з дисків (або з цифрової бібліотеки) для старих приставок з цієї бази даних підкачуються оновлені текстури та якимось неймовірним чином підміняються на екрані.
У патенті точно не вказано, що ця технологія створена для PlayStation 5, але це явний натяк. Швидше за все, основна увага буде направлена на ігри від PS3, тоді як тайтли від PS4 виглядають добре і збережуть презентабельний вигляд на декілька років вперед. Можливо, японці не забудуть і про класику з PS1 і PS2.
Правила коментування
Вітаємо Вас на сайті Pingvin Pro. Ми докладаємо всіх зусиль, аби переконатися, що коментарі наших статей вільні від тролінгу, спаму та образ. Саме тому, на нашому сайті включена премодерація коментарів. Будь ласка, ознайомтеся з кількома правилами коментування.
- Перш за все, коментування відбувається через сторонній сервіс Disqus. Модератори сайту не несуть відповідальність за дії сервісу.
- На сайті ввімкнена премодерація. Тому ваш коментар може з’явитися не одразу. Нам теж інколи треба спати.
- Будьте ввічливими – ми не заохочуємо на сайті грубість та образи. Пам’ятайте, що слова мають вплив на людей! Саме тому, модератори сайту залишають за собою право не публікувати той чи інший коментар.
- Будь-які образи, відкриті чи завуальовані, у бік команди сайту, конкретного автора чи інших коментаторів, одразу видаляються. Агресивний коментатор може бути забанений без попереджень і пояснень з боку адміністрації сайту.
- Якщо вас забанили – на це були причини. Ми не пояснюємо причин ані тут, ані через інші канали зв’язку з редакторами сайту.
- Коментарі, які містять посилання на сторонні сайти чи ресурси можуть бути видалені без попереджень. Ми не рекламний майданчик для інших ресурсів.
- Якщо Ви виявили коментар, який порушує правила нашого сайту, обов’язково позначте його як спам – модератори цінують Вашу підтримку.
Схожі новини
Як вибрати ігрову консоль: секрети вдалої покупки
Питання про те, як вибрати ігрову консоль, хвилює багатьох – як новачків, так і досвідчених ґеймерів. У сучасному світі відеоігор, де технології розвиваються шаленими темпами, зробити правильний вибір стало складніше, ніж будь-коли. Якщо раніше вибір обмежувався кількома класичними брендами, то сьогодні ринок пропонує десятки різноманітних моделей: від стаціонарних систем до гібридних і портативних рішень, а […]
Крутий геймпад для ігор: чому заощаджувати на покупці не варто
Усі геймери погодяться з твердженням, що грати зручніше з геймпадом. Не має значення, до якого пристрою ви його під’єднуєте: персональний комп’ютер, Смарт-ТВ, ноутбук. Ба більше, можна купити геймпад навіть для планшета чи смартфона. Надійні джойстики від відомих виробників пропонують не лише швидку реакцію, а й багато цікавого функціоналу. Втім, нерідко покупці спокушаються доступними цінами на […]

