📰 Новини
Samsung запатентувала інтерактивний віртуальний інтерфейс для розумних годинників
Компанія Samsung запатентувала цікаву технологію, яка може помітно підвищити зручність використання розумних годинників і інших компактних ґаджетів. Патент описує смарт-годинник, здатний сканувати і розпізнавати фізичну форму об’єктів навколо них, після чого використовуючи набір інтегрованих проекторів, проектувати на них віртуальний інтерфейс.
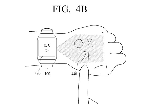
Простіше кажучи, розумні годинники можуть проектувати функціональний віртуальний інтерфейс на зап’ясті користувача або навіть розміщувати віртуальні кнопки на його пальцях, а пункти меню можуть бути розкидані по всій руці. А наведені приклади демонструють роботу спроектованих на зап’ясті великої клавіатури, навігації та набора номера.
А найцікавіше, що це не просто картинки. Всі елементи, що проектуються, інтерактивні. А передбачені патентом фотосенсори дозволяють визначити “натиснуті” користувачем клавіші. При цьому можливості технології не обмежуються проектуванням інтерфейсу на руці, і в якості керуючої поверхні можна використовувати стіл, стіну або іншу поверхню.
Розроблена Samsung технологія дозволить мінімізувати незручність використання невеличкого дисплея розумного годинника, розширивши її інтерфейс до десктопного. А крім того, ця ж таки технологія може застосовуватися в VR-шоломах, фактично об’єднуючи віртуальну реальність і навколишній світ.
Втім, отримання патенту зовсім не говорить про те, що ця технологія дійсно розробляється і може бути реалізована в найближчому майбутньому. І часто такі ініціативи використовуються виробниками лише для банального захисту від крадіжки ідеї.
Правила коментування
Вітаємо Вас на сайті Pingvin Pro. Ми докладаємо всіх зусиль, аби переконатися, що коментарі наших статей вільні від тролінгу, спаму та образ. Саме тому, на нашому сайті включена премодерація коментарів. Будь ласка, ознайомтеся з кількома правилами коментування.
- Перш за все, коментування відбувається через сторонній сервіс Disqus. Модератори сайту не несуть відповідальність за дії сервісу.
- На сайті ввімкнена премодерація. Тому ваш коментар може з’явитися не одразу. Нам теж інколи треба спати.
- Будьте ввічливими – ми не заохочуємо на сайті грубість та образи. Пам’ятайте, що слова мають вплив на людей! Саме тому, модератори сайту залишають за собою право не публікувати той чи інший коментар.
- Будь-які образи, відкриті чи завуальовані, у бік команди сайту, конкретного автора чи інших коментаторів, одразу видаляються. Агресивний коментатор може бути забанений без попереджень і пояснень з боку адміністрації сайту.
- Якщо вас забанили – на це були причини. Ми не пояснюємо причин ані тут, ані через інші канали зв’язку з редакторами сайту.
- Коментарі, які містять посилання на сторонні сайти чи ресурси можуть бути видалені без попереджень. Ми не рекламний майданчик для інших ресурсів.
- Якщо Ви виявили коментар, який порушує правила нашого сайту, обов’язково позначте його як спам – модератори цінують Вашу підтримку.
Схожі новини
Apple Watch 11: кому варто оновитися, а кому вистачить попереднього покоління
З кожним новим поколінням Apple Watch компанія робить ставку на покращення функціональності та розширення можливостей для здоровʼя, спорту та повсякденного використання. З виходом Apple Watch 11 зміни стали помітними, і варто розібратися, хто дійсно виграє від апгрейду, а кому можна залишатися на попередніх моделях. Підписуйтесь на наш Telegram-канал Основні нововведення Apple Watch 11 Apple Watch […]
Як гаджети можуть підвищити продуктивність роботи?
Сучасні технології стрімко змінюють наш спосіб життя, і робота не є винятком. Особливо це актуально для тих, кого цікавить робота в Каневі. Гаджети та інноваційні рішення можуть значно підвищити продуктивність праці, надаючи нові можливості для організації робочого процесу та управління часом. Підписуйтесь на наш Telegram-канал Основні гаджети для підвищення продуктивності Сучасний ринок пропонує безліч гаджетів, […]




