📰 Новини
Новини дня зі світу ґаджетів: iPhone 7s, ShiftWear та Google Glass 2
Як повідомляє Nikkei Asian Review, посилаючись на японські джерела, компанія Apple звернулася до корейських і японських виробників дисплеїв, закликавши їх збільшити темпи виробництва панелей OLED, які повинні почати використовувати в iPhone з 2017 року. Інформатор зазначає, що Apple налаштована випустити першу модель свого фірмового смартфона з дисплеєм нового типу в 2017 році, проте може статися так, що iPhone 7s (можлива назва моделі, яка вийде після iPhone 7) також отримає РК-дисплей, а запуск смартфона з дисплеєм OLED відкладуть на 2 018 рік. Все залежить від того, чи зіткнеться компанія з якими-небудь проблемами на стадії підготовки до запуску чи ні. Дізнатися більше про розробки Apple…
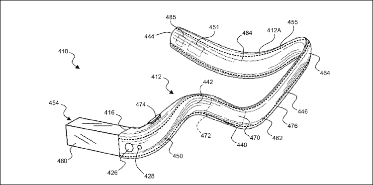
Управління США по патентах і торгових марках (USPTO) оприлюднило патент Google на «Натільний пристрій зі структурами введення і виведення» (Wearable device with input and output structures). За цією назвою, по суті, ховаються «розумні» окуляри. У документі говориться, що ґаджет може містити обчислювальний блок, модуль візуалізації інформації, камеру, сенсорну панель управління та інші елементи. Іншими словами, описується пристрій на зразок Google Glass. На ілюстраціях, що супроводжують патент, зображені традиційні версії Glass у вигляді окулярів з лінзами і у вигляді оправи. Плюс до цього показані абсолютно нові варіанти дизайну. Зокрема, Google розглядає можливість створення натільного комп’ютера у вигляді якогось обода зі змінною формою, який буде повторювати форму голови користувача, обхоплюючи її з боку потилиці. На одній з дужок такого пристрою може бути закріплений модуль візуалізації, вже знайомий по перших зразках Glass. Не виключено, що саме показаний дизайн ляже в основу нових натільних пристроїв, які проектує команда Google Glass. До речі, за наявними даними, розробляються кілька версій ґаджета, зокрема, з блоком відображення інформації і без такого.

Голова Samsung Taiwan Гарі Ву (Gary Wu) заявив, що до 2017 року 90% телевізорів і мобільних пристроїв компанії будуть підтримувати додатки інтернету речей, а до 2020 року відповідна підтримка буде у всіх продуктів Samsung. Гарі Ву, посилаючись на свіже дослідження Gartner, нагадав, що в 2016 році на ринку буде налічуватися понад 6,4 млрд пристроїв, що підтримують концепцію інтернету речей, на 30% більше, ніж цього року. До 2020 року до інтернету речей буде підключено 20,8 млрд пристроїв. Дізнатися більше про плани Samsung…

Винахідники продовжують робити спроби впровадити сучасну електроніку і передові технології у виробництво спортивного взуття. “Розумні” кросівки обзаводяться датчиками для підрахунку пройденої власником відстані, світлодіодним підсвічуванням підошви і навіть кріплення, що саме затягує шнурки, з фільму “Назад у майбутнє”. Крім того, окремі виробники взуття вже готові робити кросівки на замовлення з урахуванням особливостей будови стопи конкретного покупця – підошва взуття в цьому випадку створюється за допомогою технологій тривимірного друку. Поки черга до одягу не дійшла, винахідники тренуються на взутті. Компанія ShiftWear з Нью-Йорка зараз намагається зібрати на Indiegogo необхідну для масового виробництва кросівок-хамелеонів суму. Концепція проста й оригінальна: бічна поверхня цих кедів виконана з непромокаючого “електронного паперу”, здатного демонструвати кольорове зображення без істотних витрат електроенергії. Дізнатися більше про ці кеди-хамелеони…

Lei Jun
Компанія Xiaomi увірвалася на ринок смартфонів і досить швидко завоювала серця і гаманці пересічних споживачів. На тлі бурхливого зростання оціночна вартість Xiaomi торік досягла $ 45 млрд, але сьогодні, як пише сайт Bloomberg, китайська компанія переживає не найкращі часи. Торік голова і засновник Xiaomi Лей Цзюнь (Lei Jun) прогнозував, що за 2015 рік компанія зможе реалізувати 100 млн смартфонів. Згодом заявлене число було знижено до 80 мільйонів, але Xiaomi може не дотягнути навіть до цієї позначки. Відзначається, що за дев’ять місяців цього року було відвантажено тільки 53 млн смартфонів Xiaomi. Дізнатися більше про причини невдачі Xiaomi…
Саме таким був цей день. Слідкуйте і надалі за новинами на Vinsee.
Правила коментування
Вітаємо Вас на сайті Pingvin Pro. Ми докладаємо всіх зусиль, аби переконатися, що коментарі наших статей вільні від тролінгу, спаму та образ. Саме тому, на нашому сайті включена премодерація коментарів. Будь ласка, ознайомтеся з кількома правилами коментування.
- Перш за все, коментування відбувається через сторонній сервіс Disqus. Модератори сайту не несуть відповідальність за дії сервісу.
- На сайті ввімкнена премодерація. Тому ваш коментар може з’явитися не одразу. Нам теж інколи треба спати.
- Будьте ввічливими – ми не заохочуємо на сайті грубість та образи. Пам’ятайте, що слова мають вплив на людей! Саме тому, модератори сайту залишають за собою право не публікувати той чи інший коментар.
- Будь-які образи, відкриті чи завуальовані, у бік команди сайту, конкретного автора чи інших коментаторів, одразу видаляються. Агресивний коментатор може бути забанений без попереджень і пояснень з боку адміністрації сайту.
- Якщо вас забанили – на це були причини. Ми не пояснюємо причин ані тут, ані через інші канали зв’язку з редакторами сайту.
- Коментарі, які містять посилання на сторонні сайти чи ресурси можуть бути видалені без попереджень. Ми не рекламний майданчик для інших ресурсів.
- Якщо Ви виявили коментар, який порушує правила нашого сайту, обов’язково позначте його як спам – модератори цінують Вашу підтримку.
Схожі новини
Смарагд, якому понад 400 років, продали за 1.2 млн доларів для допомоги Україні
Смарагд, знайдений в результаті аварії корабля 400-річної давності, на аукціоні Sotheby’s Magnificent Jewels в Нью-Йорку різко змінив передпродажні оцінки. Підписуйтесь на наш Telegram-канал lifecell запускає власний NFT-маркетплейс задля підтримки України Понад 1.3 млн людей у всьому світі почали вивчати українську мову: звіт Duolingo Україна закуповуватиме ліки від спінальної м’язової атрофії (СМА) Восьмигранний смарагд ступінчастого огранювання […]
Штучний інтелект продовжує помилковий квест із передбачення злочинів
Штучний інтелект – це цікава, але дуже «сира» технологія на даному етапі розвитку. Pingvin Pro описував багато різних історій про дослідження, можливості та проблеми штучного інтелекту. Всі вони зібрані ось на цій сторінці. Але дослідники та вчені продовжують свою роботу з вдосконалення цієї машини. Передбачення злочинів досить хитка справа і штучний інтелект, який застосовується для […]



